华太电子完成IPO辅导 拟冲刺科创板 先进制造基金投了

网络 2026-04-18 09:20:05
股市要闻 2026-04-18 09:20:05 阅读

  4月17日,证监会官网IPO辅导公示系统显示,苏州华太电子技术股份有限公司(下称:“华太电子”)辅导状态更新为辅导验收,该公司拟上市板块为上交所科创板。

  《科创板日报》记者注意到,华太电子于2022年12月首次启动上市辅导,2024年9月重新签署辅导协议,到目前提交辅导完成报告已历时超三年。

  聚焦通信市场射频器件需求持续释放

  华太电子成立于2010年3月,主要从事射频系列产品、功率系列产品、专用模拟芯片、工控SoC芯片、高端散热材料的研发、生产与销售,并提供大功率封测业务,产品广泛应用于通信基站、光伏发电与储能、半导体装备、智能终端、新能源汽车、工业控制等大功率场景。

  官网显示,华太电子主要产品线包括射频芯片系列、功率类器件系列、模拟IC系列以及系统方案系列产品。在射频产品线方面,该公司主要产品包括LDMOS MMIC、大功率分立器件等,据媒体报道,其LDMOS MMIC已在国内外关键客户大规模量产,射频PA器件累计发货超过1.7亿颗,RF LDMOS出货量位居国内第一。

  回看华太电子,从其发展历程来看,2010年至2018年,华太电子以通信领域射频产品为起跑线,开发了专有基础工艺平台,开发的射频产品覆盖基站、直放站、对讲机等公专网通信领域。2018至2022年,华太电子开始加快业务基础布局,成立功率半导体产品线、数字SoC产品线和模拟芯片产品线,合并华智材料厂,成立瑶华封测厂等。

  2022至今,华太电子打造了射频、功率、SoC、模拟、材料、封测6大产品和服务体系。在此期间,拥有600多项专利;在射频及功率器件领域构建了设计、制造、材料、封测、销售全产业链;公司业务领域由最初的通信领域拓展至光储充、新能源汽车、工业控制、半导体装备等诸多领域。此外,在营销渠道建设上,公司在荷兰、瑞典、韩国、芬兰设立了海外销售中心。

  当前,功率射频器件需求持续释放,据弗若斯特沙利文数据及预测,未来中国大陆等离子体射频电源系统市场规模预计将加速增长,2025-2029年复合增长率预计为12.3%,至2029年市场规模将达到215.6亿元。2029年,中国大陆的射频电源市场中半导体的市场占比有望提升至62%。

  山西证券在近期研报中表示,在射频集成电路领域,5G-A已在全面布网,6G已完成第一阶段的技术验证,随着新一代移动通信技术的不断演进,未来对高频段、高功率射频器件的需求将持续释放。

  历经5轮融资一众国资投了

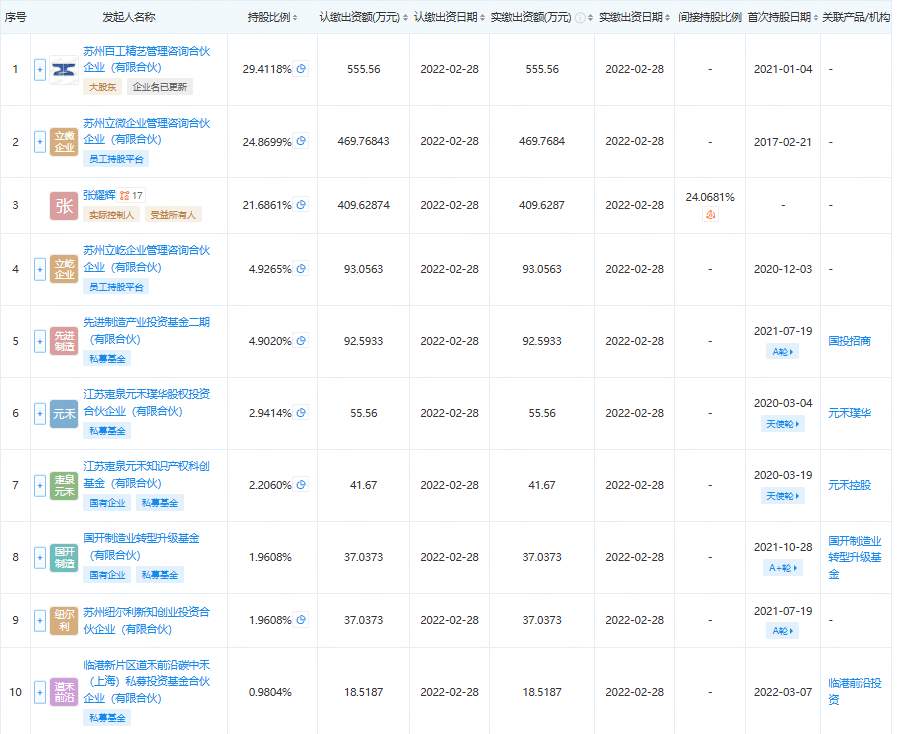
  融资历程方面,工商信息显示,华太电子共历经5轮融资,包括国有资本先进制造产业投资基金二期(有限合伙)、国开制造业转型升级基金(有限合伙)、临港新片区道禾前沿碳中禾(上海)私募投资基金合伙企业(有限合伙)、中新苏州工业园区创业投资有限公司等。

image

  股权结构方面,辅导备案显示,华太电子目前无控股股东,实际控制人为张耀辉,张耀辉直接持有公司约19.20 %的股份,并通过其控制的企业间接控制公司约52.44%的表决权,合计控制公司约71.64%的表决权,现担任公司董事长。

  工商信息显示,华太电子股东列表还包括先进制造产业投资基金二期(有限合伙)、江苏疌泉元禾璞华股权投资合伙企业(有限合伙)、国开制造业转型升级基金(有限合伙)、苏州纽尔利新知创业投资合伙企业(有限合伙)、临港新片区道禾前沿碳中禾(上海)私募投资基金合伙企业(有限合伙),持股比例分别为4.90%、2.94%、1.96%、1.96%、0.98%。

image

  华太电子创始人、董事长张耀辉为经济学博士,教授。从教40年,2018年入选国家万人计划教学名师。1982年毕业于辽宁工程技术大学电气化与自动化专业,毕业后留校任教,工作后在职攻读采矿工程硕士研究生以及国民经济学博士研究生;1999年张耀辉加盟汕头大学,成为产业经济学的学科带头人和商学院副院长。2010年,他创立华太电子。

  值得一提的是,华太电子副董事长陶雄强长期深耕通信领域。该公司官网显示,其本硕博均毕业于浙江大学物理电子学与光电子学专业,教授级高级工程师、曾担任国家无线通信重大专项总体组专家(03专项),曾带领普天研发团队及TD产业联盟,推动了TD-SCDMA、TDD-LTE、专网通信系统标准的制定、技术创新及产业发展。

  《科创板日报》记者注意到,华太电子再射频功率芯片领域的同行业上市公司包括国博电子唯捷创芯等,截至4月17日收盘,上述两家公司市值分别为804.9亿元、149.8亿元。其中,国博电子2025年营收28.36亿元。

(文章来源:财联社)

声明:
  1. 风险提示:以上内容仅来自互联网,文中内容或观点仅作为原作者或者原网站的观点,不代表本站的任何立场,不构成与本站相关的任何投资建议。在作出任何投资决定前,投资者应根据自身情况考虑投资产品相关的风险因素,并于需要时咨询专业投资顾问意见。本站竭力但不能证实上述内容的真实性、准确性和原创性,对此本站不做任何保证和承诺。
  2. 本站认真尊重知识产权及您的合法权益,如发现本站内容或相关标识侵犯了您的权益,请您与我们联系删除。
最新发布
今日焦点